
Matriarch のフィルターは、SERIES(シリーズ=直列)、PARALLEL(パラレル=並列)、STEREO(ステレオ) の 3 つの選択可能なモードのいずれかで動作します。FILTER MODE スイッチの現在の設定に応じて、VCF 1 は ハイパス または ローパス・ モードのいずれかで動作することができ、一方で VCF 2 は常に ローパス 動作を維持します。フィルター以降の信号経路ではステレオ対応となっています。
目次
- Filter Mode
- HP/LP (バンドパス・フィルター) - SERIESモード(スイッチ左)
- LP/LP (トゥルー・ステレオ) - STEREOモード(スイッチ中)
- HP/LP (ノッチ・フィルター) - PARALLELモード(スイッチ右)
Filter Mode
この 3 ポジション・スイッチを切り替えることで、VCF 1 と VCF 2 がどのように構成され、どのように相互作用するかを定義します。
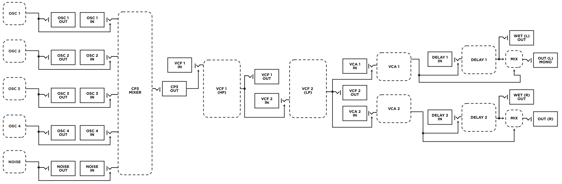
HP/LP (バンドパス・フィルター) - SERIESモード(スイッチ左)
バンドパス・フィルター

シリーズ(直列)シグナルパス
HP/LP シグナルフロー

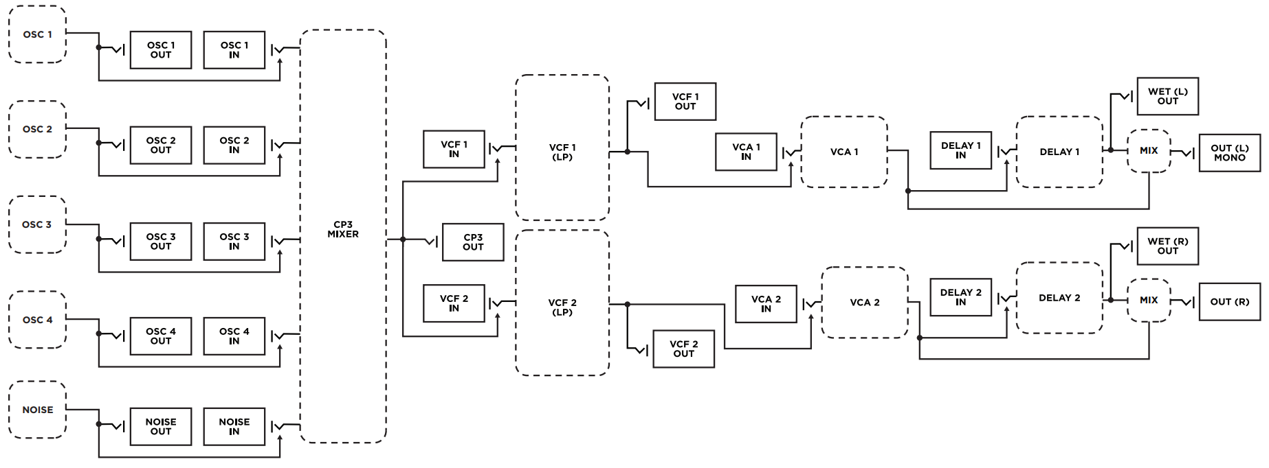
LP/LP (トゥルー・ステレオ) - STEREOモード(スイッチ中)
このモードでは、VCF 1 と VCF 2 はそれぞれ独立したローパス・フィルターとして動作します。両方ともミキサー・モジュールから同一の信号を受け取ります。VCF 1 は VCA 1 に、VCF 2 は VCA 2 にルーティングされます。
これにより、出力まで完全に独立した トゥルー・ステレオ の信号経路が作られます。
トゥルー・ステレオ シグナルパス
LP/LP シグナルフロー

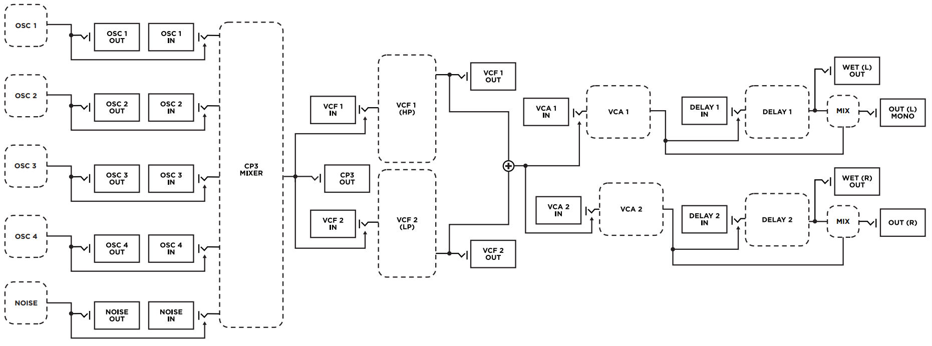
HP/LP (ノッチ・フィルター) - PARALLELモード(スイッチ右)
このモードでは、VCF 1 は ハイパス・フィルターとして、VCF 2 はローパス・フィルターとして構成されます。両方ともミキサー・モジュールから同一の信号を受け取り、それぞれの出力は合成されてモノラル信号となり、VCA 1 と VCA 2 の両方に供給されます。
ノッチ・フィルター

パラレル(並列)シグナルパス
信号は独立して処理された後、合成されます。ハイパスとローパスを並列で処理することは、ノッチ・フィルターを作成するための基本となります。
HP/LP シグナルフロー

この記事は役に立ちましたか?
それは素晴らしい!
フィードバックありがとうございます
お役に立てず申し訳ございません!
フィードバックありがとうございます
フィードバックを送信しました
記事の改善におけるご協力ありがとうございます。